旋风动漫(《篮球旋风》动画第二季新增著作权备案,时隔5年要上映了吗?)
《篮球旋风》动画第二季新增著作权备案
不知道大家是否还记得一部名为《篮球旋风》的国产动画呢?
时隔5年,《篮球旋风》动画第二季有了新的消息!

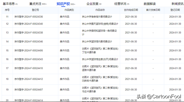
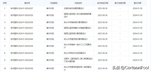
在央视动漫集团有限公司的作品著作权版块,今年登记了很多《篮球旋风》动画第二季的角色和场景设计等,具体如下:
场景设计:云海市城市夜景、海西队篮球馆入场大堂荣誉墙、京山中学宿舍楼外景、海西队篮球馆客队休息室、海西队篮球馆外景、京山中学篮球馆内景、京山中学宿舍一楼大门入口、京山中学附近书店、京山中学操场和篮球馆一角、京山中学宿舍一楼大门入口、海西队篮球馆入、场大堂荣誉墙、京山中学操场和篮球馆一角、京山中学附近书店、京山中学篮球馆走廊(白天)、京山中学操场、云海市高铁站检票口
卡通形象:丁旭、刘宽、何标、肖继国、冯庄、王波波、王教练、陈嘉、颜教练、李海、卢教练



这些《篮球旋风》动画第二季的作品著作权也是提到了《篮球旋风》第二季这个是暂定名了,不排除后续会改了。






《篮球旋风》动画第一季中也有很多角色再度出现了,又会带来怎样的故事呢?
《篮球旋风》动画第二季会今年上映吗?
《篮球旋风》动画第二季还在2023年2月全国国产电视动画片制作备案公示剧目中由央视动漫集团有限公司备案了,集数为13集。

2022年1月14日,中央广播电视总台央视动漫集团还发布了2022重点项目与新片,在“时代新作童心筑梦”板块就出现了《篮球旋风》动画第二季,



“国风经典传统文化”板块则是出现了《新围棋少年》和《敦煌的故事》,而《新围棋少年》已经在2023年开播了,算是延期不多了。



加上这次《篮球旋风》动画第二季的著作权备案,是不是意味着《篮球旋风》动画第二季也快上映了呢?今年会不会有机会呢?
《篮球旋风》动画第一季于2019年上映,只不过当时对于这部作品的争议还是蛮大的,有网友觉得制作粗糙,甚至跟《灌篮高手》很像,有点“抄袭”的问题了。





《篮球旋风》也是在《乒乓旋风》出后,追加热度出的,只不过没达到预期了,这次第二季能否有所升级呢?
《篮球旋风》动画第二季新增著作权备案,时隔5年,大家是否期待呢?欢迎在下方留言和评论哦
(文章为作者原创,请勿抄袭和转载;图片来源于网络,如有侵权,请联系删除)
-
黄鳝女主播多大(“黄鳝门”事件侦破始末公开,涉事女主播两个月赚9万)2017年3月,一个被称为“黄鳝门”的事件一度被炒作成为一个沸沸扬扬的网络热点:直播平台上一名女主播把黄鳝塞入自己下体的淫秽色情视频引起网民热议, “黄鳝女”一时成为网络热搜关键词,虽然大多数的网站对视频的内容进行了封禁,但“黄鳝门”依旧成为...
-
两女主播拼酒视频(网红主播“三千哥”之死:拼酒直播为何没完没了)据多家媒体消息,5月17日凌晨,某知名短视频社交平台主播“三千哥”在直播时因饮酒过量而去世。5月21日中午,三千哥的朋友赵龙向新京报记者证实了此事,“我去参加了他的葬礼,这两天都没有睡好。”观看了三千哥5月17日凌晨直播的陈锋告新京报记者,三千哥...
-
女主播演唱姐姐(隐退直播间近3年的薇娅,如今怎么样了?)2021年12月19日,薇娅直播间上架了47件商品,从那以后,这个超头直播间一直没能再度开播。沧海桑田,如今将近3年过去了,薇娅又在干什么呢?本期最人物纪就带大家去了解一下薇娅的现状!薇娅原名黄薇,1985年出生于安徽省合肥市庐江县的一户普通人家里。7岁时...
-
东京热女主播系列贴吧(日本最美混血女主播:名人二代收割机,42岁挺着孕肚嫁入豪门)前言不管在哪混迹政坛,除了看实力之外,民众最关心的事情可能就要数他们的私生活了吧,毕竟这也算半个“明星人物”了,他们的私生活,哪有人不好奇呢。这不,在2019年,日本前首相小泉纯一郎的儿子,政坛著名的“花花公子”小泉进次郎突然官宣结婚,而且...
-
女主播直播穿高跟鞋(旭旭宝宝连麦女主播性感热舞,不停飞吻,惨遭老婆查房)旭旭宝宝在直播的时候,总是喜欢在无聊之际,给大家连麦一些主播,让兄弟们不至于只看游戏太枯燥,虽然说旭旭宝宝连麦女主播的频率很低,但是也是会有几率连到,最近旭旭宝宝在直播的时候,就连麦到了一个男主播,但是这个男主播丝毫不给旭旭宝宝面子,...
-
鳝鱼女主播死了没(“黄鳝门”案一审宣判23人获刑,涉事女主播被判1年9个月)近日,浙江省诸暨市检察院以涉嫌传播淫秽物品牟利罪对“黄鳝门”事件23名被告人依法提起公诉,诸暨市法院一审依法判处其十年以下有期徒刑。黄鳝门事件的女主播琪琪也在被判刑人员当中,以传播淫秽物品牟利罪被判处有期徒刑一年九个月,并处罚金五万。这...