牛农(活牛5000元甩卖,牛农亏损大羊价鱼价继续跌,养殖业寒冬来了?)
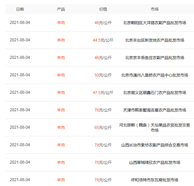
01、羊价
去年不少人通过养羊致富,毕竟往年羊价13-14元一斤,但去年直接涨至17-18元一斤,羊农的利润增加,大家也纷纷扩栏,不少新人也加入其中,期待今年能赚上更多的钱。
其实在6月份之前羊价还算可以,普遍在17元左右,甚至还因羊肉太贵引来了全民抱怨。然而,6月份时羊价轰然大跌,从17元直接跌至13元,部分地区更是探底12元大关。这一低迷行情也让羊农损失加大,不知该如何是好。当然,羊价的低迷,主要是受环保督查导致的,因各地清理了违规养羊场,羊农只好加快卖羊,结果引来了羊市震荡。

到了7月下旬,羊价有所反弹,回升到了14元大关,这个价格也让羊农损失降低或保本,其羊羔价格也比6月高出一头。如邯郸30斤公羔850元,40斤900元;内蒙丰镇30斤680元,仍然偏低;内蒙克旗35斤公羔950元;汾阳30斤母羔600元,公羔700元。
总体来看,市场成交的多是羊羔,因羊价低迷,大家不愿意将其出售,期待接下来羊价继续上涨,但目前来看,接下来风险仍然比较大,毕竟如今市场压栏惜售现象明显,一旦后期价格上涨集中抛售,价格怕是还会跌至12元,因此羊农要理性出栏,别压价。

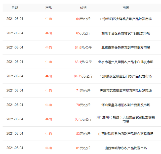
02、活牛市场震荡
前段时间,因河南水灾,一养牛户含泪表示,家里50头牛全部死亡,亏损了100万元。该养牛户的遭遇也让很多人同情,毕竟养牛太不容易了,可能对该牛农来说,这些牛是全部的家底。
不过悲剧还没停止,近期云贵川渝、江西、两广等地牛结节性皮肤炎加剧,致使养牛人损失加大,起初时很多人没有意识该疾病有多严重,也就没能第一时间治疗,结果最后2万元的牛5000元甩卖。

结节病主要是在南方湿热地方传播,传染源是牛虻、蚊蝇等,其传染性强,很容易就会群发,需要做好预防措施才行。昆明养牛人赵大哥无奈哭诉,家里有20头牛,但如今全得了结节病,其个头为1000斤左右,再养上一两个月就可卖掉,但遇到这病只好提前甩卖,一头只卖了3000多元。
家住重庆的牛农老周表示,家里养了30多头牛,均重为1200斤,本想等9月份消费旺季卖出去,到时候可卖出更高的价格。谁知感染了结节病后,只能无奈甩卖,一头只卖了5000元,亏损了近50万元。
不过其他地方牛价还算稳定,价格依旧在17-18元一斤,有业内分析,牛市遭受了一连串打击,市场的缺口加大,预计 9月份牛价还会迎来一波大涨。

03、鱼价继续跌
今年的鱼价真可谓是“过山车”,先是迎来了一波大涨,紧接着从7月份开始又开始了一波下跌潮。不少鱼价都受到了影响,如白鲢6月卖出了8元高价,如今跌至4-5元一斤;鳜鱼6月份时一斤60-65元,但如今广东已跌至40-45元一斤,跌幅为30%。
草鱼价格也是如此,原本一斤14-15元左右,但如今已跌到了10-11元,不过比起往年零售6-7元来看依旧偏高。而跌幅最大的是鲤鱼,5月份塘口均价为9.8元,但如今已跌至6.2元一斤,大跌了37%,市场零售也从14元跌至8元左右。
鱼价之所以开启了下跌潮,其实主要是受7月份新鱼上市的影响,供应量有所增多。而从8月份开始,海洋陆续解禁,海产品也开始增加,从而带动了一波反弹。同时因多地管控,运输难度加大,产地出现了积压情况,且餐饮消费再次冷清,致使鱼价下跌。

04、“火箭蛋”能坚持多久?
近期的蛋价可谓是迎来了飘红上涨,目前产区均价已涨至4.9元/斤,市场的零售价更是在5.5元以上,即将突破6元大关。如潍坊市场上,记者调查发现,鸡蛋零售价普遍在5.2-5.6元/斤,10天时间里涨了6-8毛左右,其涨幅十分明显。
不过商户表示,每年这个季节蛋价都会季节性上涨,并没有什么好奇怪的,主要是蛋鸡产蛋量偏低,市场供应偏紧,再加上食品企业的备货力度加大,纷纷采购鸡蛋,结果蛋价迎来了大涨。

当然,近期多地防控,很多居民开始了居家不外出,为了满足食物供应,很多人购买营养丰富且易于保存的鸡蛋,也带动了鸡蛋的销量。
不过也有业内分析,如果“黑天鹅”事件继续僵持下去,鸡蛋的运输难度加大,产地可能会出现积压情况,蛋价到时候必然也会走跌。
天气炎热,养殖业却是寒冬,怎么办?留言讨论下!
-
黄鳝女主播多大(“黄鳝门”事件侦破始末公开,涉事女主播两个月赚9万)2017年3月,一个被称为“黄鳝门”的事件一度被炒作成为一个沸沸扬扬的网络热点:直播平台上一名女主播把黄鳝塞入自己下体的淫秽色情视频引起网民热议, “黄鳝女”一时成为网络热搜关键词,虽然大多数的网站对视频的内容进行了封禁,但“黄鳝门”依旧成为...
-
两女主播拼酒视频(网红主播“三千哥”之死:拼酒直播为何没完没了)据多家媒体消息,5月17日凌晨,某知名短视频社交平台主播“三千哥”在直播时因饮酒过量而去世。5月21日中午,三千哥的朋友赵龙向新京报记者证实了此事,“我去参加了他的葬礼,这两天都没有睡好。”观看了三千哥5月17日凌晨直播的陈锋告新京报记者,三千哥...
-
女主播演唱姐姐(隐退直播间近3年的薇娅,如今怎么样了?)2021年12月19日,薇娅直播间上架了47件商品,从那以后,这个超头直播间一直没能再度开播。沧海桑田,如今将近3年过去了,薇娅又在干什么呢?本期最人物纪就带大家去了解一下薇娅的现状!薇娅原名黄薇,1985年出生于安徽省合肥市庐江县的一户普通人家里。7岁时...
-
东京热女主播系列贴吧(日本最美混血女主播:名人二代收割机,42岁挺着孕肚嫁入豪门)前言不管在哪混迹政坛,除了看实力之外,民众最关心的事情可能就要数他们的私生活了吧,毕竟这也算半个“明星人物”了,他们的私生活,哪有人不好奇呢。这不,在2019年,日本前首相小泉纯一郎的儿子,政坛著名的“花花公子”小泉进次郎突然官宣结婚,而且...
-
女主播直播穿高跟鞋(旭旭宝宝连麦女主播性感热舞,不停飞吻,惨遭老婆查房)旭旭宝宝在直播的时候,总是喜欢在无聊之际,给大家连麦一些主播,让兄弟们不至于只看游戏太枯燥,虽然说旭旭宝宝连麦女主播的频率很低,但是也是会有几率连到,最近旭旭宝宝在直播的时候,就连麦到了一个男主播,但是这个男主播丝毫不给旭旭宝宝面子,...
-
鳝鱼女主播死了没(“黄鳝门”案一审宣判23人获刑,涉事女主播被判1年9个月)近日,浙江省诸暨市检察院以涉嫌传播淫秽物品牟利罪对“黄鳝门”事件23名被告人依法提起公诉,诸暨市法院一审依法判处其十年以下有期徒刑。黄鳝门事件的女主播琪琪也在被判刑人员当中,以传播淫秽物品牟利罪被判处有期徒刑一年九个月,并处罚金五万。这...